三星又一三折叠手机专利获批:提高屏幕耐用性、添加防反射层
时间: 2024-11-09 09:28:45
小编: ithome
本站 11 月 9 日消息,科技媒体 mspoweruser 昨日(11 月 8 日)发布博文,报道称三星公司已获批新的专利,暗示三星有望商用三折叠手机。根据美国商标和专利局(USPTO)最新公示的清
本站 11 月 9 日消息,科技媒体 mspoweruser 昨日(11 月 8 日)发布博文,报道称三星公司已获批新的专利,暗示三星有望商用三折叠手机。
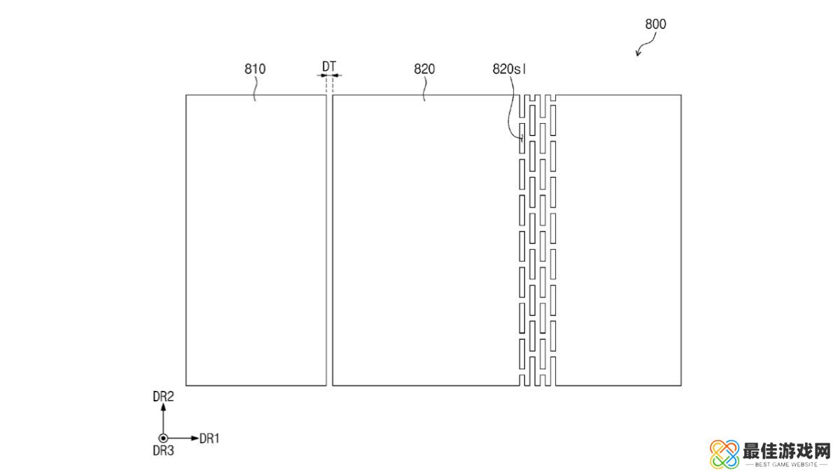
根据美国商标和专利局(USPTO)最新公示的清单,该专利于 2021 年 7 月提交,2024 年 11 月获批生效,共有 25 页,主要介绍在三折叠状态下如何保持屏幕耐用性和韧性。
该设计采用了专用的隔离层,具有战略性开口,减少了对屏幕的压力,使得折叠更加容易;支撑板和粘合层使用了不锈钢或玻璃等耐用材料,以增强设备的稳定性。
三星在显示面板中加入了抗反射层,旨在减少反射光对用户的影响。此外,屏幕下方还设计了多层结构,包括阻隔层和缓冲层,以防止外界物质对屏幕造成损害。本站附上相关图片如下:





相关阅读:
《手机变平板:三星三折叠设计专利图曝光》
